電站旋啟式止回閥

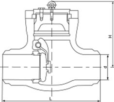
電站旋啟式止回閥外形尺寸圖
產品用途
磅級電站旋啟式止回閥適用于Class1500~2500Lb,工作溫度-29~570℃的石油、化工、火力電站等各種工況的管路上。適用介質為:水、油品、蒸汽等。
主要零件材料
零件名稱 | 材料牌號 | |||
閥體 | WCB | WC1 | WC6 | WC9 |
閥座 | 25 | 15Cr1MoA | 12Cr1MoVA | |
閥瓣 | WCB | WCI | WC6 | WC9 |
搖桿 | WCB | WCI | WC6 | WC9 |
閥蓋 | 25 | 15Cr1MoA | 12Cr1MoVA | |
密封環 | 1Cr17Ni2 | 20Cr1MoVA | ||
密封環 | S軟鋼(增強柔性石墨) | S軟鋼 | F軟鋼 | |
主要尺寸及重量
公稱通徑(in) CL1500Lb | 外形和連接尺寸(mm) | 重量(Kg) | ||
d | L | H | ||
2 1/2 | 56 | 254 | 282 | 57 |
3 | 64 | 325 | 300 | 57 |
4 | 84 | 406 | 350 | 80 |
5 | 100 | 483 | 425 | 115 |
6 | 126 | 559 | 400 | 180 |
8 | 158 | 711 | 490 | 270 |
10 | 200 | 864 | 540 | 430 |
12 | 250 | 991 | 650 | 630 |
14 | 280 | 1067 | 710 | 1400 |
公稱通徑(in) CL2000Lb | 外形和連接尺寸(mm) | 重量(Kg) | ||
d | L | H | ||
2 1/2 | 50 | 330 | 240 | 40 |
3 | 60 | 368 | 305 | 60 |
4 | 80 | 457 | 315 | 95 |
5 | 96 | 533 | 409 | 170 |
6 | 118 | 610 | 465 | 186 |
8 | 147 | 762 | 528 | 415 |
10 | 180 | 914 | 613 | 658 |
12 | 222 | 1041 | 680 | 1200 |
14 | 254 | 118 | 745 | 1638 |
公稱通徑(in) CL2500Lb | 外形和連接尺寸(mm) | 重量(Kg) | ||
d | L | H | ||
3 | 54 | 368 | 297 | 44 |
4 | 70 | 457 | 385 | 110 |
5 | 86 | 533 | 410 | 130 |
6 | 104 | 610 | 455 | 192 |
8 | 130 | 762 | 557 | 466 |
10 | 162 | 914 | 615 | 730 |
12 | 210 | 1041 | 715 | 1120 |
14 | 234 | 1118 | 790 | 1495 |
16 | 264 | 1245 | 815 | 1950 |
18 | 304 | 1397 | 815 | 2400 |
焊接電站旋啟式止回閥

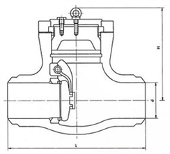
美標焊接電站旋啟式止回閥產品圖 美標焊接電站旋啟式止回閥外形尺寸圖
用途:
美標焊接電站旋啟式止回閥適用于公稱壓力PN20.0~32.0MPa,工作溫度≤540℃(其中57170V工作溫度為570℃)的石油、化工、水力、火力電站各種系統的管路上。適用介質為:水、油品、蒸汽等。
產品結構特點:
1.產品設計制造按E101和JB/T3595-93標準的規定,結構合理,性能優良,造型。
2.閥門中腔采用壓力自緊式密封結構,介質壓力越高,密封性能越好。
3.支管兩端為對焊連接,適應不同的接管要求。
4.閥瓣、閥座的密封面采用司太立(stellite)鈷基硬質合金堆焊而成,耐磨、耐高溫,抗擦傷性能好、使用壽命長。
5.高溫耐壓部件采用優質耐熱合金鋼制造,安全可靠,性能穩定,使用壽命長。
主要零件的材料說明:
閥 體 | WCB、25 | 2Cr1MoV | WC6 | WC9 |
閥 蓋 | 25 | 12CrMoV | ||
閥 瓣、閥 座 | 25堆STL鈷基硬質合金 | 12CrMoV STL鈷基硬質合金 | ||
密封環 | 增強柔性石墨 | |||
主要外形尺寸及連接尺寸
型號 | 公稱通徑DN | 主要外形尺寸及連接尺寸(mm) | 重量(kg) | |
L | H | |||
H64Y-200 | 50 | 350 | 250 | 50 |
65 | 430 | 282 | 57 | |
80 | 470 | 325 | 65 | |
100 | 600 | 350 | 80 | |
175 | 900 | 440 | 180 | |
H64Y-320 | 125 | 900 | 409 | 170 |
225 | 1000 | 550 | 415 | |
300 | 1370 | 680 | 1200 | |
350 | 1370 | 745 | 1638 | |