產品概述
FY系列液下泵該泵取消了其他液下泵普遍采用的機械密封和選用了獨特結構的葉輪,使泵高效、節能、無泄漏、壽命特長,從而廣泛應用于石油、化工、制藥、造紙、冶金、污水處理等行業。
特點
1.泵為立式液下泵,外形美觀,直接安裝在被輸送介質的儲存器上,無額外占地面積,從而降低了基建投入。
2.取消了機械密封,解決了其他液下泵因機械密封容易磨損而須經常維修的煩惱,節約了泵的運行成本,提高了工作效率。
3.采用獨特的離心式雙平衡葉輪,供輸送不含固體顆粒等清潔的介質,振動噪音特低,效率高;采用開式雙平衡葉輪,供輸送不清潔帶有固體顆粒及短纖維的液體、運行平穩、不堵塞。
使用條件
1.被輸送介質溫度為-20-+140℃。
2.鑄鐵材質的泵,介質PH值在5-9范圍內。
3.采用開式葉輪的泵,被輸送液體中含有的固體顆粒直徑以不超過泵吸入口直徑30%為宜。
型號意義
例:

材料 | HT200 | 1Cr18Ni9Ti | Cr18Ni12Mo2Ti |
代號 | T | B | M |
葉輪 | 離心式雙 平衡葉輪 | 開 式 雙 平衡葉輪 |
代號 | L | K |
表一 表二
FY系列液下泵型譜圖

FY液下泵主要性能參數
型號規格 | 出口直徑 mm | 流量 | 揚程 m | 轉速 r/min | 功率(KW) | 液下長度 m | ||
m3/h | L/S | 軸功率 | 電機功率 | |||||
25FY-16 | 25 | 3.6 | 1 | 16 | 2900 | 0.713 | 1.5 | 0.5-2.5 |
25FY-16A | 25 | 3.27 | 0.91 | 13 | 2900 | 0.713 | 1.5 | 0.5-2.5 |
25FY-25 | 25 | 3.6 | 1 | 25 | 2900 | 1.16 | 2.2 | 0.5-2.5 |
25FY-25A | 25 | 3.27 | 0.91 | 20 | 2900 | 1.16 | 2.2 | 0.5-2.5 |
25FY-41 | 25 | 3.6 | 1 | 41 | 2900 | 2.51 | 4 | 0.5-2.5 |
25FY-41A | 25 | 3.27 | 0.91 | 33 | 2900 | 2.51 | 3 | 0.5-2.5 |
40FY-16 | 40 | 7.2 | 2 | 16 | 2900 | 0.78 | 2.2 | 0.5-2.5 |
40FY-16A | 40 | 6.55 | 1.82 | 13 | 2900 | 0.78 | 1.5 | 0.5-2.5 |
40FY-26 | 40 | 7.2 | 2 | 26 | 2900 | 1.45 | 3 | 0.5-2.5 |
40FY-26A | 40 | 6.55 | 1.82 | 21 | 2900 | 1.45 | 3 | 0.5-2.5 |
40FY-40 | 40 | 7.2 | 2 | 40 | 2900 | 2.53 | 5.5 | 0.5-2.5 |
40FY-40A | 40 | 6.55 | 1.82 | 32 | 2900 | 2.53 | 5.5 | 0.5-2.5 |
50FY16 | 50 | 14.4 | 4 | 16 | 2900 | 1.18 | 3 | 0.5-2.5 |
50FY-16A | 50 | 13.1 | 3.64 | 13 | 2900 | 1.18 | 3 | 0.5-2.5 |
50FY-25 | 50 | 14.4 | 4 | 25 | 2900 | 1.96 | 4 | 0.5-2.5 |
50FY-25A | 50 | 13.1 | 3.64 | 20 | 2900 | 1.96 | 3 | 0.5-2.5 |
50FY-40 | 50 | 14.4 | 4 | 40 | 2900 | 3.73 | 7.5 | 0.5-2.5 |
50FY-40A | 65 | 13.1 | 3.64 | 33 | 2900 | 3.73 | 5.5 | 0.5-2.5 |
65FY-16 | 65 | 28.8 | 8 | 16 | 2900 | 2.16 | 4 | 0.75-2.5 |
65FY-16A | 65 | 26.2 | 7.28 | 13 | 2900 | 2.16 | 3 | 0.75-2.5 |
65FY-25 | 65 | 28.8 | 8 | 25 | 2900 | 3.56 | 5.5 | 0.75-2.5 |
65FY-25A | 65 | 26.2 | 7.28 | 21 | 2900 | 3.56 | 5.5 | 0.75-2.5 |
65FY-40 | 65 | 28.8 | 8 | 40 | 2900 | 6.04 | 11 | 0.75-2.5 |
65FY-40A | 65 | 26.2 | 7.28 | 33 | 2900 | 6.04 | 11 | 0.75-2.5 |
80FY-15 | 80 | 54 | 15 | 15 | 2900 | 3.34 | 7.5 | 1-2.5 |
80FY-15A | 80 | 49.1 | 13.65 | 12 | 2900 | 3.34 | 7.5 | 1-2.5 |
80FY-24 | 80 | 54 | 15 | 24 | 2900 | 5.43 | 11 | 1-2.5 |
80FY-24A | 80 | 49.1 | 13.65 | 20 | 2900 | 5.43 | 11 | 1-2.5 |
80FY-38 | 80 | 54 | 15 | 38 | 2900 | 9.64 | 18.5 | 1-2.5 |
80FY-38A | 80 | 49.1 | 13.65 | 31 | 2900 | 9.64 | 15 | 1-2.5 |
100FY-23 | 100 | 100.8 | 28 | 23 | 2900 | 9.25 | 18.5 | 1-2.5 |
100FY-23A | 100 | 91.8 | 25.5 | 18 | 2900 | 9.25 | 15 | 1-2.5 |
100FY-37 | 100 | 100.8 | 28 | 37 | 2900 | 14.73 | 22 | 1-2.5 |
100FY-37A | 100 | 91.8 | 25.5 | 31 | 2900 | 14.73 | 22 | 1-2.5 |
注:1、液下長度為安裝盤下至過濾網底之長度。2、以上所標電機功率按輸送介質比重1.4配置。
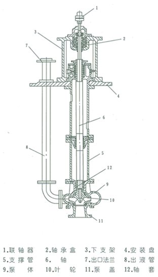
FY液下泵結構圖


FY液下泵外形及安裝尺寸圖

型號 | W | M | H | D | D0 | n-m | A | B | A1 | B1 | A2 | B2 | n1-m1 | Dg | D1 | D01 | n2-m2 |
25-16 | 420 | 195 | 205 | 560 | 510 | 8-ф18 | 600 | 400 | 510 | 350 | 170 | 160 | 10-ф18 | 25 | 115 | 85 | 4-ф14 |
25-25 | 420 | 195 | 205 | 560 | 510 | 8-ф18 | 600 | 400 | 510 | 350 | 170 | 160 | 10-ф18 | 25 | 115 | 85 | 4-ф14 |
25-41 | 420 | 195 | 205 | 560 | 510 | 8-ф18 | 600 | 400 | 510 | 350 | 170 | 160 | 10-ф18 | 25 | 115 | 85 | 4-ф14 |
40-16 | 420 | 195 | 205 | 560 | 510 | 8-ф18 | 600 | 400 | 510 | 350 | 170 | 160 | 10-ф18 | 32 | 140 | 100 | 4-ф18 |
40-26 | 420 | 195 | 205 | 560 | 510 | 8-ф18 | 600 | 400 | 510 | 350 | 170 | 160 | 10-ф18 | 32 | 140 | 100 | 4-ф18 |
40-40 | 420 | 225 | 205 | 560 | 510 | 8-ф18 | 600 | 400 | 510 | 350 | 170 | 160 | 10-ф18 | 32 | 140 | 100 | 4-ф18 |
50-16 | 420 | 205 | 205 | 560 | 510 | 8-ф18 | 600 | 400 | 510 | 350 | 170 | 160 | 10-ф18 | 40 | 150 | 110 | 4-ф18 |
50-25 | 420 | 205 | 205 | 560 | 510 | 8-ф18 | 600 | 400 | 510 | 350 | 170 | 160 | 10-ф18 | 40 | 150 | 110 | 4-ф18 |
50-40 | 420 | 225 | 205 | 560 | 510 | 8-ф18 | 600 | 400 | 510 | 350 | 170 | 160 | 10-ф18 | 40 | 150 | 110 | 4-ф18 |
65-16 | 550 | 310 | 250 | 700 | 650 | 12-ф18 | 750 | 450 | 660 | 360 | 220 | 180 | 10-ф18 | 50 | 165 | 125 | 4-ф18 |
65-25 | 550 | 310 | 250 | 700 | 650 | 12-ф18 | 750 | 450 | 660 | 360 | 220 | 180 | 10-ф18 | 50 | 165 | 125 | 4-ф18 |
65-40 | 550 | 310 | 250 | 700 | 650 | 12-ф18 | 750 | 450 | 660 | 360 | 220 | 180 | 10-ф18 | 50 | 165 | 125 | 4-ф18 |
80-15 | 550 | 310 | 270 | 700 | 650 | 12-ф18 | 750 | 450 | 660 | 360 | 220 | 180 | 10-ф18 | 65 | 185 | 145 | 4-ф18 |
80-25 | 550 | 310 | 270 | 700 | 650 | 12-ф18 | 750 | 450 | 660 | 360 | 220 | 180 | 10-ф18 | 65 | 185 | 145 | 4-ф18 |
80-38 | 550 | 310 | 270 | 700 | 650 | 12-ф18 | 750 | 450 | 660 | 360 | 220 | 180 | 10-ф18 | 65 | 185 | 145 | 4-ф18 |
100-23 | 550 | 310 | 275 | 700 | 650 | 12-ф18 | 750 | 450 | 660 | 360 | 220 | 180 | 10-ф18 | 80 | 200 | 160 | 8-ф18 |
100-37 | 550 | 310 | 275 | 700 | 650 | 12-ф18 | 750 | 450 | 660 | 360 | 220 | 180 | 10-ф18 | 80 | 200 | 160 | 8-ф18 |
FY液下泵使用注意事項
拆卸與裝配
1.如更換或檢查葉輪,可關閉出口閥門,卸去法蘭連接螺栓和底板連接螺栓,用起重工具將泵吊出容器。
2.將底板垂在支架上,卸去泵體的所有螺栓,取出泵蓋和葉輪螺母,用雙錘輕擊泵體,即可卸下葉輪。
3.對更換滾動軸承或填料,則底板不動,只要卸去電機及相應支架,卸去泵聯軸器、壓蓋、圓螺母,取出軸承體。要更換填料,先取出填料壓蓋,再取出要更換的填料。
安裝、使用、維修
1.泵組裝后,盤動聯軸器,看是否轉動靈活。檢查是否有金屬磨擦聲,各部件螺母是否旋緊。
2.檢查泵軸和電機軸的同心度,兩聯軸器外圓左右差數不得超過0.1mm,兩聯軸器端面間隙保持1~2.5mm。
3.泵的吸入口到容器底部之間距離為2~3倍吸入口徑,泵體距器壁大于口徑的2.5倍。
4.泵的出液管路,應另設支架支撐,其重量不允許支撐在泵上。
5.檢查電機的旋轉方向,使泵的旋轉方向符合指示方向。
6.關閉出口管路上的閘閥及壓力表,接通冷卻水管。
7.起動電機,開壓力表,慢慢開啟出口管閘閥到需要的位置,投入正常運轉。
8.經常檢查泵和電機的情況,軸承溫升不應超過75℃,軸承盒內應加足夠黃油。
故 障 | 原 因 | 排除方法 |
打不出液體 | 1、電機轉向不對 2、液體未浸沒葉輪中心線 | 1、調整方向 2、調整浸沒高度 |
流量不足 | 1、葉輪腐蝕、磨損嚴重 2、轉速不足 3、開式葉輪軸向間隙過大 4、吸入或出口部分堵塞 | 1、更換葉輪 2、提高轉速 3、重新調整間隙 4、清除淤塞部分 |
揚程不足 | 1、輸送液體中含有氣體 2、葉輪被嚴重腐蝕 3、轉速不足 | 1、降低液體溫度排氣 2、更換葉輪 3、提高轉速 |
功率過大 | 1、流量超過使用范圍 2、介質比重過大 3、發生機械磨擦 4、填料壓得太緊 | 1、調整泵流量到使用范圍 2、更換較大功率電機 3、調整或更換磨擦部件 4、旋松填料壓蓋 |
軸承發熱 | 1、泵軸與電機軸不同心 2、軸承盒內缺油或油變質 | 1、調整同心 2、加油或換油 |
雜聲或振動 | 1、崩壞走與電機軸不同心 2、輸送液體中含有氣體 3、轉子不平衡 4、螺母有松動現象 5、軸套與襯套磨損過大 | 1、調整同心 2、降低液體溫度排氣 3、更換零件 4、擰緊各部位螺母 5、更換襯套,調整軸同心 |