G45J 直流式襯膠隔膜閥

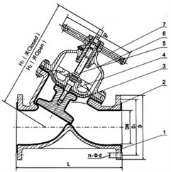
G45J-6型手直流式動襯膠隔膜閥外形尺寸圖
一、直流式手動襯膠隔膜閥性能規范:
工作溫度 | 適用介質 |
≤85℃ | 一般腐蝕性介質 |
注:此為我公司基型產品適用溫度,如有不同要求請參閱前頁進行選擇。
二、直流式手動襯膠隔膜閥零件的材料:
名稱 | 材料 |
閥體 | 鑄鐵/襯膠 |
閥蓋 | 鑄鐵 |
閥瓣 | 鑄鐵 |
手輪 | 鑄鐵 |
隔膜 | 天然膠、丁基膠等 |
閥桿 | 碳鋼 |
三、主要外形尺寸和連接尺寸(mm)
公 稱 通 徑 | 公稱壓力 /MPa | 工作壓力 /MPa | L | D | D1 | n-Фd | H1 | H2 | Do | 重量 /㎏ | |
DN/ mm | NPS/inch | ||||||||||
50 | 2 | 0.6 | 0.6 | 210 | 160 | 125 | 4-18 | 213 | 229 | 140 | 14 |
65 | 2 1/2 | 250 | 180 | 145 | 4-18 | 255 | 279 | 200 | 20 | ||
80 | 3 | 300 | 195 | 160 | 4-18 | 281 | 305 | 200 | 29 | ||
100 | 4 | 350 | 215 | 180 | 8-18 | 332 | 362 | 280 | 42 | ||
125 | 5 | 400 | 245 | 210 | 8-18 | 402 | 442 | 320 | 61 | ||
150 | 6 | 460 | 280 | 240 | 8-23 | 450 | 496 | 320 | 79.5 | ||
200 | 8 | 0.4 | 570 | 335 | 295 | 8-23 | 594 | 654 | 400 | 150 | |
250 | 10 | 680 | 390 | 350 | 12-23 | 695 | 771 | 500 | 236.5 | ||
我公司采用標準:
設計與制造:GB/TM12239
結構長度:JB1688
法蘭連接尺寸:JB78(PN1.0MPa)