液控止回蝶閥
一、產品用途及特點
HD7Q41X全液控止回蝶閥適用于介質為水的泵出口管路上,用來避免和減少管路系統中介質的倒流及產生過大的水錘,以保護管路系統,其功能是以一閥代兩閥(傳統的管線設計中以閘閥配止回閥或以普通蝶閥配止回閥)。其主要特點:1、HD7Q41X型全液控止回蝶閥控制部分采用了全液控形式,以蓄能器取代了重錘式液控止回蝶閥的重錘部分,減小了能量損耗,傳動機構得到簡化,占據空間小,與一般型蝶閥相近。安裝方便,即可左、右臥式安裝,也可以立式安裝。2、HD7Q41X型全液控止回蝶閥裝在泵后,可代替閘閥(蝶閥)和止回閥兩臺閥門。且流阻系數小,大口徑蝶閥流阻系數只比閘閥略高。因此,該類閥門為節能產品。3、HD7Q41X型全液控止回蝶閥關閉時,可以根據管道系統的特性或用戶要求調整快、慢關段的時間和切換角度,從而達到消除或減小水錘,保護系統的租用。4、如所有行程開關都采用電感式接近開關,移除液壓站,防護等級可達IP67。



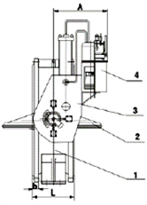
HD7Q41X全液控止回蝶閥產品圖 HD7Q41X全液控止回蝶閥外形尺寸圖
二、主要技術參數
公稱通徑(mm) | 1400-2400 | 1200-2400 | 500-2400 | 500-2400 | 500-1600 | |
公稱壓力(MPa) | 0.25 | 0.6 | 1.0 | 1.6 | 2.5 | |
試驗壓力 (MPa) | 強度試驗 | 0.375 | 0.9 | 1.5 | 2.4 | 3.75 |
密封試驗 | 0.275 | 0.66 | 1.1 | 1.76 | 2.75 | |
適用介質 | 水 | |||||
適用溫度(℃) | ≤80℃ | |||||
介質流速 | 3m/s |
三、主要零部件材料及執行標準
零件名稱 | 材料 | 制造標準 | JB/T8527-97、GB/T12238-89 |
閥體 | 灰鑄鐵、球墨鑄鐵、碳素鋼 | 法蘭標準 | GB/T17241.6-1998、GB2555-2556-81 |
蝶板 | 灰鑄鐵、球墨鑄鐵、鑄鋼 | 機構長度標準 | GB/T12221-89 |
閥軸 | 不銹鋼 | 檢驗標準 | GB/T 13927-92 |
密封圈 | 不銹鋼、NBR | ||
填料 | NBR |
四、HD7Q41X-6/10/16全液控止回蝶閥主要外形連接尺寸 單位:mm
DN | PN | D | D1 | b | L | A | B | H |
500 | 1.0 | 670 | 620 | 43 | 229 | 720 | 1650 | 1360 |
600 | 1.0 | 780 | 725 | 48 | 267 | 720 | 1730 | 1390 |
700 | 1.0 | 895 | 840 | 54 | 292 | 720 | 1800 | 1445 |
800 | 1.0 | 1015 | 950 | 58 | 318 | 720 | 1870 | 1485 |
900 | 1.0 | 1115 | 1050 | 61 | 330 | 720 | 2070 | 1865 |
1000 | 1.0 | 1230 | 1160 | 67 | 410 | 755 | 2165 | 1930 |
1200 | 1.0 | 1455 | 1380 | 65 | 470 | 905 | 2265 | 2030 |
1400 | 1.0 | 1675 | 1590 | 68 | 530 | 905 | 2665 | 2270 |
1200 | 0.6 | 1405 | 1340 | 65 | 470 | 755 | 2365 | 2025 |
1400 | 0.6 | 1630 | 1560 | 68 | 530 | 755 | 2665 | 2270 |
1600 | 0.6/0.25 | 1830 | 1760 | 68 | 600 | 905 | 2940 | 2380 |
1800 | 0.6/0.25 | 2045 | 1970 | 70 | 670 | 905 | 3325 | 2470 |
2000 | 0.25 | 2265 | 2180 | 54 | 760 | 905 | 3660 | 2370 |
2200 | 0.25 | 2475 | 2390 | 60 | 840 | 1123 | 4325 | 2940 |
2400 | 0.25 | 2685 | 2600 | 62 | 910 | 1123 | 4530 | 3000 |
注:可根據用戶要求從DN250-3000生產(GB12221-89)長系列,從DN1200-3000帶底腳的需注明。