鏈輪對夾式刀形閘閥
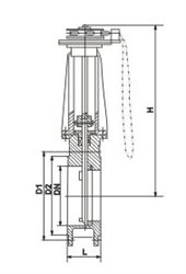
一、鏈輪對夾式刀形閘閥簡圖:

鏈輪對夾式刀形閘閥
二、鏈輪對夾式刀形閘閥主要性能規范 Chief Property And Specification
公稱壓力(MPa) Nominal Pressure | 殼體試驗(MPa) | 密封試驗(MPa) | 工作溫度 Working Tempe ration | 適用介質 Suitable |
1.0 | 1.5 | 1.1 | ≤100℃-425℃ | 紙漿、污水、煤漿、灰、渣水混和物 |
1.6 | 2.4 | 1.8 | ≤100℃ |
三、鏈輪對夾式刀形閘閥主要零部件材質 Material of Main Part
體、蓋 Body、Bonnet | 閘板Disc | 閥桿Stem | 密封面 Sealing |
不銹鋼、碳鋼、灰鑄鐵 S.S、C.S、C.I | 碳鋼、不銹鋼 | 不銹鋼 S.S | 橡膠、四氟、不銹鋼、硬質合金 Rubber 、PTFE、S.S、Carbide Alloy |
四、鏈輪對夾式刀形閘閥主要外型及連接尺寸 Main External And Connecting Dimensions(mm)
MPa | DN | L | D2 | D1 | H | n-M | MPa | DN | L | D2 | D1 | H | n-M |
0.6 | 50 | 43 | 90 | 110 | 325 | 4- M 12 | 1.0 | 50 | 50 | 100 | 125 | 325 | 4- M 16 |
65 | 46 | 110 | 130 | 340 | 4- M 12 | 65 | 50 | 120 | 145 | 340 | 4- M 16 | ||
80 | 46 | 125 | 150 | 355 | 4- M 16 | 80 | 50 | 135 | 160 | 355 | 4- M 16 | ||
100 | 52 | 145 | 170 | 405 | 8- M 16 | 100 | 50 | 155 | 180 | 405 | 8- M 16 | ||
125 | 56 | 175 | 200 | 440 | 8- M 16 | 125 | 50 | 185 | 210 | 440 | 8- M 16 | ||
150 | 56 | 200 | 225 | 520 | 8- M 16 | 150 | 60 | 210 | 240 | 520 | 8- M 20 | ||
200 | 60 | 255 | 280 | 580 | 8- M 16 | 200 | 60 | 265 | 295 | 580 | 8- M 20 | ||
250 | 68 | 310 | 335 | 670 | 12- M 16 | 250 | 70 | 320 | 350 | 670 | 12- M 20 | ||
300 | 78 | 362 | 395 | 820 | 12- M 20 | 300 | 80 | 368 | 400 | 820 | 12- M 20 | ||
350 | 78 | 412 | 445 | 925 | 12- M 20 | 350 | 90 | 428 | 460 | 925 | 16- M 20 | ||
400 | 102 | 462 | 495 | 1030 | 16- M 20 | 400 | 100 | 482 | 515 | 1030 | 16- M 22 | ||
450 | 114 | 518 | 550 | 1180 | 16- M 20 | 450 | 120 | 532 | 565 | 1180 | 20- M 22 | ||
500 | 127 | 568 | 600 | 1290 | 16- M 20 | 500 | 130 | 585 | 620 | 1290 | 20- M 22 |