X43W-150/300/600/900LB 美標硬密封提升式旋塞閥

X43W-150/300/600/900LB 美標硬密封提升式旋塞閥外形尺寸圖
產品結構特點
法蘭連接美標提升式硬密封旋塞閥適用于公稱壓力CLASS150-1500LBS,工作溫度-29~550℃的石油、化工、制藥、化肥、電力行業等各種工況的管路上,切斷或接通管路介質。
其它主要結構特點
1、產品結構合理、密封可靠、性能優良、造型美觀;
2、閥門的啟閉過程是在密封面脫離的狀態下進行的,不會造成密封面的磨損。
3、雙向流動,安裝使用更方便。
4、零件材質及法蘭尺寸可根據實際工況或用戶要求合理選配,滿足各種工程需要。
閥門的啟閉工作原理
閥門的啟閉過程:開啟閥門時,要先旋轉手輪,使塞子上升,于密封面脫離,再旋轉手柄90°,使塞子的通道和閥體的通道相通,達到開啟的目的。而閥閉的過程是先旋轉手柄90°,使塞子的通道和閥體的通道垂直,再旋轉手輪,使塞子下降,達到密封。
技術規范
結構形式 | BB-BG-OS&Y | 結構長度 | ASME B16.10 |
驅動方式 | 手輪、傘齒輪、手柄 | 連接法蘭 | ASME B16.5 |
設計標準 | API599、API6D | 試驗與檢驗 | API 598、API 6D |
產品性能規范
公稱壓力(LB) | 課題試驗壓力(MPa) | 密封實驗壓力(MPa) | 適用溫度(℃) | 使用介質 |
150 | 3.0 | 2.2 | ≤550℃ | 水、蒸汽、油品等 |
300 | 7.5 | 5.5 | ||
600 | 15.0 | 11.0 | ||
900 | 22.5 | 16.5 | ||
1500 | 37.5 | 27.5 |
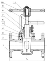
主要零部件材質
序號 | 名稱 | 材質 |
1 | 閥體 | ASTM A216-WCB ASTM A217-WC1\WC6\WC9 C5 ASTM A351-CF8\CF8M\CF3\CF3M |
2 | 塞子 | ASTM A182-Gr.F6a ASTM A182-F22 ASTM A182-F304\F316\F321\F304L\F316L |
3 | 墊子 | 柔性石墨+不銹鋼 |
4 | 閥蓋 | ASTM A216-WCB ASTM A217-WC1\WC6\WC9 C5 ASTM A351-CF8\CF8M\CF3\CF3M |
5 | 螺栓 | ASTM A193-B7,A320-B8 A193-B8M |
6 | 六角螺母 | ASTM A194-2H,A194-8 A194-8M |
7 | 填料 | 柔性石墨 |
8 | 填料壓蓋 | ASTM A216-WCB ASTM A217-WC1\WC6\WC9 C5 ASTM A351-CF8\CF8M\CF3\CF3M |
9 | 手柄 | ASTM A216-WCB C5 ASTM A351-CF8\CF8M\CF3\CF3M |
10 | 閥桿螺母 | 銅螺母 |
11 | 手輪 | ASTM A536 Gr.60-40-18 ASTM A216-WCB |
X43-150LB | ||||||||||||||||
壓力等級 | 150LB | |||||||||||||||
口徑 | mm | 15 | 20 | 25 | 32 | 40 | 50 | 65 | 80 | 100 | 125 | 150 | 200 | 250 | 300 | 350 |
in | 1/2 | 3/4 | 1 | 1-1/4 | 1-1/2 | 2 | 2-1/2 | 3 | 4 | 5 | 6 | 8 | 10 | 12 | 14 | |
L | 108 | 117 | 127 | 140 | 165 | 178 | 190 | 203 | 229 | 254 | 267 | 292 | 330 | 356 | 381 | |
H | 190 | 195 | 225 | 260 | 280 | 310 | 340 | 395 | 435 | 470 | 535 | 590 | 630 | 680 | 720 | |
W | 120 | 140 | 140 | 180 | 200 | 220 | 260 | 280 | 300 | 340 | 400 | 450 | 450 | 500 | 500 | |
重量(kg) | 9 | 10 | 11 | 17 | 19 | 23 | 25 | 32 | 55 | 82 | 98 | 130 | 178 | 250 | 380 | |
型號 | X43W-300LB | |||||||||||||||
壓力等級 | 300LB | |||||||||||||||
口徑 | mm | 15 | 20 | 25 | 32 | 40 | 50 | 65 | 80 | 100 | 125 | 150 | 200 | 250 | 300 | 350 |
in | 1/2 | 3/4 | 1 | 1-1/4 | 1-1/2 | 2 | 2-1/2 | 3 | 4 | 5 | 6 | 8 | 10 | 12 | 14 | |
L | 108 | 152 | 165 | 178 | 190 | 216 | 241 | 283 | 305 | 381 | 403 | 419 | 457 | 502 | 762 | |
H | 190 | 195 | 225 | 260 | 280 | 310 | 340 | 395 | 435 | 470 | 535 | 590 | 630 | 680 | 720 | |
W | 120 | 140 | 140 | 180 | 200 | 220 | 260 | 280 | 300 | 340 | 400 | 450 | 450 | 500 | 500 | |
重量(kg) | 10 | 12 | 14 | 19 | 21 | 28 | 34 | 39 | 75 | 95 | 135 | 200 | 255 | 415 | 650 | |
型號 | X43W-600LB | |||||||||||||||
壓力等級 | 600LB | |||||||||||||||
口徑 | mm | 15 | 20 | 25 | 32 | 40 | 50 | 65 | 80 | 100 | 125 | 150 | 200 | 250 | 300 | 350 |
in | 1/2 | 3/4 | 1 | 1-1/4 | 1-1/2 | 2 | 2-1/2 | 3 | 4 | 5 | 6 | 8 | 10 | 12 | 14 | |
L | 165 | 190 | 216 | 229 | 241 | 292 | 330 | 356 | 432 | 508 | 559 | 660 | 787 | 838 | 889 | |
H | 190 | 195 | 225 | 260 | 280 | 310 | 340 | 395 | 435 | 470 | 535 | 590 | 630 | 680 | 720 | |
W | 120 | 140 | 140 | 180 | 200 | 220 | 260 | 280 | 300 | 340 | 400 | 450 | 450 | 500 | 500 | |
重量(kg) | 13 | 14 | 19 | 23 | 25 | 32 | 40 | 55 | 105 | 139 | 300 | 440 | 730 | 1150 | 1570 | |
型號 | X43W-900LB | |||||||||||||||
壓力等級 | 900LB | |||||||||||||||
口徑 | mm | 15 | 20 | 25 | 32 | 40 | 50 | 65 | 80 | 100 | 125 | 150 | 200 | 250 | 300 | 350 |
in | 1/2 | 3/4 | 1 | 1-1/4 | 1-1/2 | 2 | 2-1/2 | 3 | 4 | 5 | 6 | 8 | 10 | 12 | 14 | |
L | 229 | 229 | 254 | 279 | 305 | 368 | 419 | 381 | 457 | 559 | 610 | 737 | 838 | 965 | 1029 | |
H | 190 | 195 | 225 | 260 | 280 | 310 | 340 | 395 | 435 | 470 | 535 | 590 | 630 | 680 | 720 | |
W | 120 | 140 | 140 | 180 | 200 | 220 | 260 | 280 | 300 | 340 | 400 | 450 | 450 | 500 | 500 | |
重量(kg) | 16 | 17 | 26 | 30 | 33 | 39 | 50 | 70 | 137 | 181 | 397 | 590 | 860 | 1470 | 1880 | |