Z944T/W-10 電動明桿平行式雙閘板閘閥
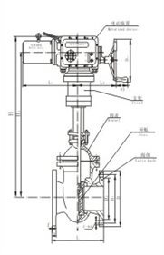
一、電動明桿平行式雙閘板閘閥用途及簡圖:
Z944T/W-10型電動明桿平行式雙閘板閘閥廣泛用于石油、化工、制藥、電力等行業,在公稱壓力≤1.0Mpa的蒸氣、水、油品等介質的管路上作啟閉作用。

電動明桿平行式雙閘板閘閥
二、電動明桿平行式雙閘板閘閥主要零件材料:
零件名稱 | 材 料 | |
Z944T-10 | Z944W-10 | |
閥體、閥蓋 | 灰鑄鐵 | 灰鑄鐵 |
閘 板 | 灰鑄鐵+黃銅 | 灰鑄鐵 |
閥 桿 | 碳鋼(銅) | 碳鋼(銅) |
閥桿螺母 | 青銅(球鐵) | 青銅(球鐵) |
三、電動明桿平行式雙閘板閘閥性能規范:
型號 | 公稱壓力 (MPa) | 試驗壓力 | 適用溫度 (℃) | 適用介質 | |
強度(水) (MPa) | 密封(水) (MPa) | ||||
Z944T-10 | 1.0 | 1.5 | 1.1 | ≤200 | 蒸氣、水、 |
Z944W-10 | ≤100 | 油品 | |||
四、電動明桿平行式雙閘板閘閥外型尺寸和連接尺寸:
型 號 | 公稱通徑 DN(㎜) | 尺寸 | 重量 (㎏) | ||||||||||
L | D | D1 | D2 | b-f | Do | z-фd | H | H1 | L2 | L1 | |||
Z944T/W-10 | 100 | 229 | 215 | 180 | 155 | 22-3 | 305 | 8-ф18 | 735 | 572 | 161 | 391 | 86.5 |
125 | 254 | 245 | 210 | 185 | 24-3 | 305 | 8-ф18 | 804 | 641 | 161 | 391 | 104 | |
150 | 267 | 280 | 240 | 210 | 24-3 | 305 | 8-ф23 | 780 | 617 | 161 | 391 | 120 | |
200 | 330 | 335 | 295 | 265 | 26-3 | 305 | 8-ф23 | 1037 | 874 | 161 | 391 | 178 | |
250 | 380 | 390 | 350 | 320 | 28-3 | 305 | 12-ф23 | 1135 | 972 | 161 | 391 | 192 | |
300 | 420 | 440 | 400 | 368 | 28-4 | 305 | 12-ф23 | 1310 | 1198 | 299 | 215 | 307 | |
350 | 450 | 500 | 460 | 428 | 30-4 | 305 | 16-ф23 | 1474 | 1362 | 299 | 215 | 411 | |
400 | 480 | 565 | 515 | 484 | 32-4 | 305 | 16-ф25 | 1572 | 1460 | 299 | 215 | 540 | |