ZZVP自力式微壓調節閥
概述
ZZVP、ZZCP型自力式差(微)壓調節閥是一種無需外來能源的節能型產品,利用工藝管道中介質的壓力變化與信號進行比較,使被調節介質的力與執行機構的輸出力平衡,以達到穩定壓力、差壓值。
ZZCP-1型差壓閥,采用平衡型單座閥,壓力穩定、精度高、密封性好,用于控制微小差壓。ZZCN-10型差壓閥采用雙座閥,流量系數大,將閥芯正、倒裝,可組成二個不同品種的產品。該產品適用于各種工業爐燃燒系統控制兩種燃料氣體混合比流量或用于氫冷發電機組密封油系統中,同時,還可用于各種工業氣體的減壓、穩壓或泄壓的自動控制。
ZZV型微壓閥,采用平衡單座閥,在運行中可任意對設定值進行調整等特點。因而適用于各種工業爐燃燒統燃料氣體、石油在制品或油庫貯罐保護氣體與熱處理保護氣體的微壓自動調節等場合
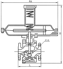
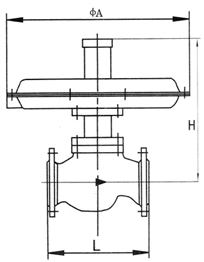
產品圖片

主零件材料
材料代號 | C(WCB) | P(304) | R(316) | |
主要 | 閥體、閥蓋 | WCB(ZG230-450) | ZG1Cr18Ni9Ti(304) | ZG1Cr18Ni12Mo2Ti(316) |
閥芯、閥座 | 1Cr18Ni9Ti(304) | 1Cr18Ni9Ti(304) | 1Cr18Ni12Mo2Ti(316) | |
閥桿 | 2Cr13 | 1Cr18Ni9Ti | 1Cr18Ni12Mo2Ti | |
填料 | V型聚四氟乙烯(F4)、柔性石墨、 | |||
墊片 | 增強聚四氟乙烯(F4) 、不銹鋼墊片、金屬石墨纏繞墊片 | |||
上下膜蓋 | A3鋼板沖壓 | |||
波紋膜片 | 丁晴橡膠、耐油橡膠、氟橡膠 | |||
彈簧 | 60Si2Mn | |||
波紋管 | 1Cr18Ni9Ti | |||
主要技術參數與性能指標
公稱通徑DN(mm) | 20 | 25 | 32 | 40 | 50 | 65 | 80 | 100 | |
額定流量(KV) | 單座(P) | 8 | 11 | 20 | 32 | 50 | 80 | 100 | 160 |
雙座(N) | ─ | ─ | ─ | ─ | 50 | 83 | ─ | ─ | |
額定行程(mm) | 6 | 8 | 10 | 15 | 20 | ||||
調節精度(%) | ±10 | ||||||||
公稱壓力PN(MPa) | ZZC | 0.10 1.0 | |||||||
ZZV | 0.10 | ||||||||
介質溫度(℃) | ≤80 | ||||||||
允許泄漏量(L/h) | 單座(P) | 10-4×閥額定容量 | |||||||
雙座(N) | 103×閥額定容量 | ||||||||
壓力調節范圍(Kpa) | 0.5~5.5、5~10、9~14、13~19、18~24、22~28、26~33、31~38、36~44、41~51、49~58、56~66、64~78、76~90、76~90 | ||||||||
外形尺寸

公稱通徑DN | 20 | 25 | 32 | 40 | 50 | 65 | 80 | 100 | 150 | |
φA | 308 | 394 | 308 | 394 | 308 | 394 | 394 | 394 | 394 | |
ZZV | H | 378 | 460 | 370 | 445 | 460 | 490 | 490 | 510 | 720- |
L | 150 | 160 | 180 | 200 | 230 | 290 | 310 | 350 | 480 | |
ZZC | H | 378 | 465 | 365 | 445 | 455 | 490 | 490 | 510 | ─ |
L | 150 | 160 | 180 | 200 | 230 | 290 | 310 | 350 | ─ | |
重量kg | 12 | 13 | 15 | 17 | 20 | 28 | 38 | 45 | 56 | |
信號接頭螺紋 | M16×1.5 | |||||||||
